今年25家公司登陆新三板!这只次新股3天翻倍
4月8日,吉春制药正式挂牌新三板,成为今年第25家登陆新三板的企业。
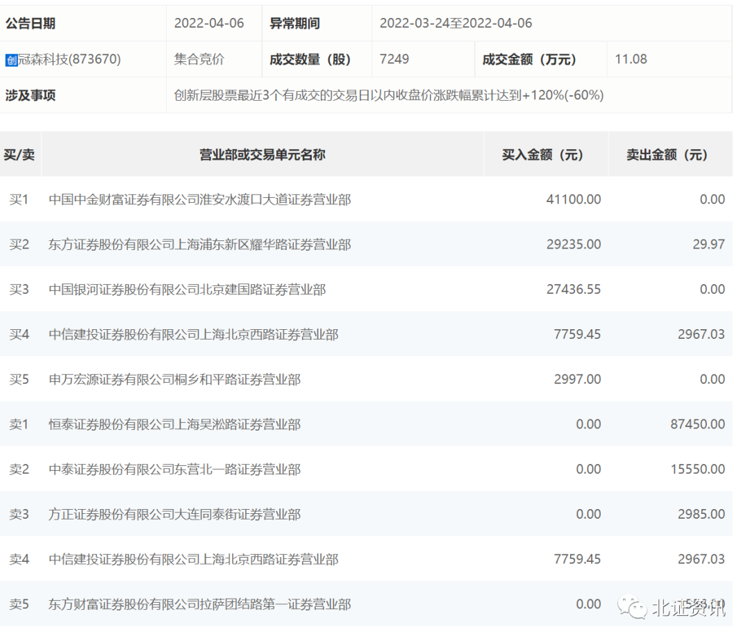
统计显示,这25家企业中有多家为新三板的”回头客“,即二次挂牌,包括成远矿业、科强股份、冠森科技等。其中冠森科技3月7日挂牌即进入创新层,挂牌后表现较为活跃,因最近3个有成交的交易日涨幅达到1.2倍而现身龙虎榜。
多家公司今年回归新三板
历经三次IPO辅导备案,吉春制药最终决定转道新三板。4月8日,吉春制药在新三板挂牌,成为基础层企业,这也是二季度首只登陆新三板的新股。
吉春制药主要产品为肾骨片、心可舒丸、振源片、鹿茸口服液、愈风宁心丸等,应用范围涵盖补益调节类、心脑血管类、呼吸感冒类、风湿骨病类及妇科类5个用药领域。2019年、2020年及2021年1~9月(以下简称报告期),吉春制药分别实现营业收入4.31亿元、4.15亿元、2.89亿元,毛利率分别为69.47%、64.90%、63.53%。
据了解,吉春制药的主要客户为传统经销商、配送经销商、连锁药店等,客户较为分散,报告期内前五名客户销售金额分别为8525.88万元、9306.66万元、5801.85万元,收入占比分别为19.51%、21.29%、19.69%。第一大客户为国药控股股份有限公司及其控制的公司,但报告期内收入比重分别仅有6.42%、6.47%、6.82%。
东方财富Choice的统计显示,今年总共有25家公司登陆新三板,其中有交易的有6家,包括坤隆股份、安达创展、冠森科技、三协电机、科强股份和天和盛。值得一提的是,今年有多家公司曾于新三板挂牌后又摘牌,近期实现重新挂牌,包括成远矿业、科强股份、冠森科技,其中冠森科技二次挂牌后表现最为活跃。
冠森科技是目前国内最大的ODA产品供应商之一,下游PI材料广泛应用于柔性线路板、消费电子、风力发电、5G通信、航空航天、高速轨道交通等国家战略新兴产业等领域。其为山东省“专精特新”中小企业、“山东省中小企业隐形冠军企业”、山东省优质品牌、山东省“一企一技术”研发中心企业、山东省“科技型中小企业”。
据了解,冠森科技的年度盈利规模已经达到北交所财务指标,2021年1-6月产品毛利率进一步提升至37%、实现净利润3300多万元,2020年度产品毛利率32%、实现净利润4000多万元。
冠森科技近期表现活跃,在4月6日当天飙涨92.61%,因最近3个有成交的交易日涨幅达到1.2倍而登上龙虎榜。中金财富淮安水渡口大道证券营业部、东方证券上海浦东新区耀华路证券营业部和银河证券北京建国路证券营业部分别买入4.11万元、2.92万元和2.74万元。
候场企业不乏亮点
除了25家企业投入新三板”怀抱“外,东方财富Choice的统计同时显示,目前有81家企业已向全国股转公司申报挂牌,这些正在候场的企业各有亮点。
安道设计和英普环境均拟二次挂牌。安道设计主要从事住宅与商业景观设计,同时提供公共艺术与乐园的设计和制作服务,主要客户包括房地产商、政府部门和其他企事业单位。其曾于2015年6月登陆新三板,随后在2021年2月终止挂牌。英普环境主要销售产品为水处理化学品、水处理装置及配件,并提供托管运维及技术服务。从新三板摘牌不到一年,英普环境再次向全国股转公司提交了申报文件,拟在基础层挂牌。
A股上市公司晨光生物旗下的晨光科技也拟在基础层挂牌,公司已收到了二次反馈意见。晨光生物通过直接和间接持股方式合计拥有晨光科技100%股权:2020年晨光生物通过资产转让、股权收购方式整合下属棉籽板块业务,重组后晨光科技成为其棉籽板块各主体的母公司。2019年、2020年和2021年1~8月(以下简称报告期),晨光科技分别实现营业收入15.12亿元、16.61亿元和14.19亿元,整体呈上升趋势;晨光科技的营业收入占晨光生物营业收入比例分别为46.31%、42.46%和49.37%,收入贡献超过四成。
港股上市公司彩客化学也于此前发布公告,拟分拆非全资附属公司彩客新材料在全国股转系统独立挂牌。其公告显示,于3月11日,香港联交所确认公司可进行分拆。公司表示,建议分拆将有利于彩客新材料及公司日后发展。使公司有机会获得其于彩客新材料投资的公允价值,从而令股东受惠。此外,使彩客新材料取得不同于公司的独立身份并获得独立集资平台,提高彩客新材料及其附属公司的经营及财务透明度并加强其企业管治。
目前,来自深圳的禹龙通已收到挂牌审查部反馈意见,其主要产品包括大功率射频电阻、衰减片、负载、衰减器、吸波材料等。在销售订单方面,通信领域产品订单量较大,5G方面产品主要通过招投标确定份额;防务领域产品多为小批量多批次,公司通过协商确定订单。由于下游移动通信设备制造商相对集中,禹龙通的客户集中度较高。报告期内,前五名客户销售金额分别为7108.70万元、1.30亿元、6845.56万元,占营业收入比例分别为74.06%、84.22%、74.58%,主要客户包括客户A、中国电子科技集团有限公司及其子公司、大唐移动、中兴通讯等。
收到挂牌审查部反馈意见的还有益坤电气。益坤电气的主要产品包括避雷器、绝缘子、熔断器及组件等,主要应用于动车组、电力机车等轨道交通领域,以及输配电领域。2019年、2020年,益坤电气第一大客户为中国中车,销售金额分别为5575.46万元、3819.96万元;2021年1~9月,中国中车、中国中铁、中国国家铁路集团有限公司依然位列前五名客户中。
曾是上市公司并购标的的印制电路板(PCB)厂商万源通,则与股东对赌约定IPO时间。万源通主要生产和销售的产品为印制电路板(PCB),涵盖单面板、双面板、多层板等,其中主营业务收入比例最高的为单面板。2020年11月,新世电子(常熟)有限公司等4名投资人通过增资成为万源通的股东,并与万源通第一、第二大股东王雪根、汪立国签署了对赌协议,就股份回购相关事项进行了约定。按照约定,各方同意积极争取在成交日后36个月内(2023年11月底之前)成功实现合格首次公开发行股票并上市,IPO上市的证券交易所包括但不限于上交所、深交所或本次投资人认可的其他证券交易所。如果万源通未能在规定时间内完成IPO,投资人有权要求王雪根或汪立国回购投资人所持全部股份。













